Zawory bezpieczeństwa

Zawory bezpieczeństwa spożywcze

  • Zakres średnic: DN 25 ÷ DN 85 oraz DN 1″ ÷ 3″
  • Ciśnienie pracy: 0 ÷ 5 bar (opcjonalnie do 12 bar)
  • Materiał korpusu: stal nierdzewna AISI 316L lub AISI 304L
  • Przyłącza standardowe: końcówki do przyspawania, opcjonalnie: gwintowane
  • Standardy przyłączy: DIN, SMS, RJT BS, IDF/ISS, Clamp
  • Standardowe wykończenie powierzchni zewnętrznej: szlif mechaniczny Ra 1.01-1.14 µm (GRIT 120)*
  • Powierzchnie wewnętrzne: wygładzone*
  • Zakres temperatur pracy w zależności od materiału uszczelnień:
    • PTFE (-10˚C ÷ +150˚C)
    • silikon (-50˚C ÷ +200˚C)
    • EPDM (-30˚C ÷ +140˚C)
    • FTM (-15˚C ÷ +220˚C)

*Opcjonalnie inne rodzaje wykończenia powierzchni wewnętrznych i zewnętrznych.

Zawory bezpieczeństwa spożywcze (zawory przelewowe)

Zawory bezpieczeństwa produkuje się ze stali nierdzewnych w gatunkach AISI 304L lub AISI 316L. Elementy do regulacji ciśnienia znajdują się wewnątrz korpusu zaworu, aby zapobiec przypadkowemu uruchomieniu. Zawór bezpieczeństwa, to generalnie zawór przelewowy, który otwiera się samoczynnie w chwili, gdy ciśnienie medium przekroczy dopuszczalną wartość. Zapobiega to uszkodzeniu zbiornika, rurociągu lub innego chronionego zaworem urządzenia.

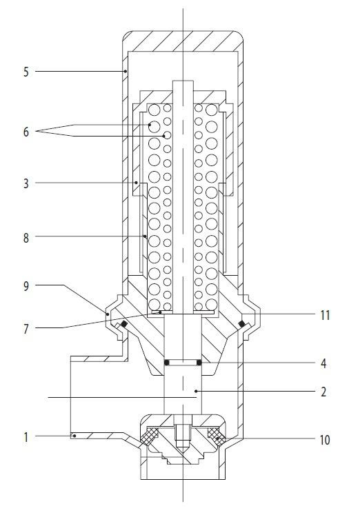
Budowa zaworów przelewowych

budowa zaworu higienicznego 1763541632
Budowa zaworu bezpieczeństwa (przelewowego)

1.Obudowa zaworu  •  2.Tłok  •  3.Element regulacyjny  •  4.O-ring  •  5.Pokrywa  •  6.Sprężyna  •  7.Podkładka  •  8.Zespół główny  •  9.Obejma  •  10.O-ring 

•  11.Uszczelka wargowa  •  12.Głowica  •  13.O-ring  •  21.Tuleja PTFE

Zastosowanie

Zawór bezpieczeństwa (zawór przelewowy) zapewnia ochronę zbiorników, rurociągów i urządzeń przed nagłym wzrostem ciśnienia ponad wartość bezpieczną. Tym samym chroni urządzenia przed zniszczeniem lub uszkodzeniem. Zawory tego typu z powodzeniem stosuje się we wszystkich gałęziach przemysłu spożywczego, w tym:

  • w przemyśle produkcji napojów,
  • przemyśle fermentacyjnym,
  • browarnictwie, winiarstwie i gorzelnictwie,
  • mleczarstwie i wielu innych.

 

Kolejnymi obszarami, w których stosuje się ten rodzaj zaworów są: biotechnologia, przemysł kosmetyczny i farmaceutyczny. Nierdzewne zawory bezpieczeństwa doskonale sprawdzą się wszędzie tam, gdzie istotna jest podwyższona odporność na korozję i wysokie standardy higieniczne.