Kurki bezdławikowe (plug cocks)

Kurki bezdławikowe 2-drogowe

Zakres średnic: DN 25 ÷ DN 100 oraz DN 1″ ÷ 4″
Maksymalne ciśnienie pracy: 4 bar
Materiał korpusu: stal nierdzewna AISI 316L lub AISI 304L
Konstrukcja: zawór 2-drogowy typu plug cock – odcinający
Przyłącza zgodne z normami: DIN, SMS, RJT BS, ISS/IDF, CLAMP
Standardowe wykończenie powierzchni zewnętrznej: szlif mechaniczny Ra 1.01–1.14 µm (GRIT 120)*
Powierzchnie wewnętrzne: wygładzone*
Napęd standardowy: uchwyt ręczny nierdzewny
*Opcjonalnie dostępne inne wykończenia powierzchni zewnętrznych i wewnętrznych.

Kurki bezdławikowe 2-drogowe dla przemysłu spożywczego

Kurki bezdławikowe 2-drogowe (plug cocks) to zawory przeznaczone do szybkiego i pewnego odcięcia przepływu w instalacjach przemysłu spożywczego oraz branż pokrewnych. Wykonane są ze stali nierdzewnej AISI 304L lub AISI 316L, z prętów gorącowalcowanych lub odkuwek, które po obróbce cieplnej uzyskują właściwą twardość i trwałość eksploatacyjną. Kluczowym elementem regulacyjnym jest stożkowy grzyb, dodatkowo pokrywany odporną na ścieranie powłoką chromową, podnoszącą jego odporność mechaniczną oraz żywotność.

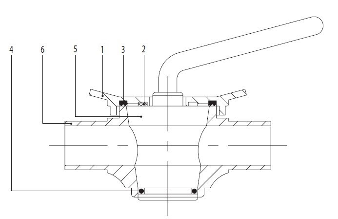
Budowa (wersja 2-drogowa)

kurki bezdlawikowe 2 drogowe 1763975238
Kurki bezdławikowe 2-drogowe

1.Pokrywa  •  2.Pierścień PTFE  •  3.Uszczelka W  •  4.O-ring  •  5.Grzyb stożkowy  •  6.Korpus

Zastosowanie

Dzięki stożkowej konstrukcji grzyba, kurki 2-drogowe zapewniają bardzo łatwe sterowanie oraz minimalną siłę wymaganą od operatora. Ich higieniczne wykonanie, wysoka odporność na korozję oraz zgodność ze standardami sanitarnymi 3-A sprawiają, że są powszechnie stosowane w przemyśle spożywczym, mleczarskim, browarnictwie, winiarstwie, gorzelnictwie, a także w biotechnologii, farmacji i kosmetyce. Kurki bezdławikowe 2-drogowe to prosty, niezawodny i trwały element armatury, odpowiedni do każdego rurociągu wymagającego szybkiego odcięcia przepływu.

3 a logo 1763979737

UWAGA:

Zawory Plug Cocks posiadają prostą, trwałą konstrukcję, a ich wewnętrzne elementy są pokryte galwanicznie warstwą chromu, co zapewnia twardą, gładką i odporną powierzchnię roboczą. Należy jednak pamiętać, że zaworów tych nie wolno stosować w instalacjach, w których medium może wchodzić w reakcję z chromem. Dotyczy to szczególnie aplikacji w przemyśle spożywczym, gdzie wiele mediów — zwłaszcza o kwaśnym odczynie lub właściwościach reaktywnych — może oddziaływać z powłoką chromową, wpływając na trwałość zaworu oraz bezpieczeństwo procesu.