Regulatory przepływu

Regulatory przepływu

  • Zakres średnic: DN 25 ÷ DN 65 oraz DN 1″ ÷ 3″
  • Maksymalne ciśnienie pracy: 15 bar
  • Materiał korpusu: stal nierdzewna AISI 316L lub AISI 304L
  • Przyłącze: końcówki do przyspawania, gwintowane: DIN, SMS, RJT BS
  • Standardowe wykończenie powierzchni zewnętrznej: szlif mechaniczny Ra 1.01-1.14 µm (GRIT 120)*
  • Powierzchnie wewnętrzne: wygładzone*
  • Element regulacyjny: pokrętło ręczne nierdzewne

*Opcjonalnie inne rodzaje wykończenia powierzchni wewnętrznych i zewnętrznych

Regulatory przepływu - armatura spożywcza

Regulatory przepływu z nastawą ręczną produkuje się ze stali nierdzewnych w gatunkach AISI 304L lub AISI 316L. Korpus zaworu wykonuje się z monobloku stalowego, co w efekcie gwarantuje wysoką wytrzymałość oraz trwałość. Dodatkowo, wewnętrzny trzon regulacyjny wykonuje się ze stali nierdzewnej i podaje chromowaniu. Regulacja przepływu realizowana jest za pomocą zewnętrznego pokrętła z możliwością zablokowania w pozycji ustalonej.

Budowa

regulator przeplywu 1763980758
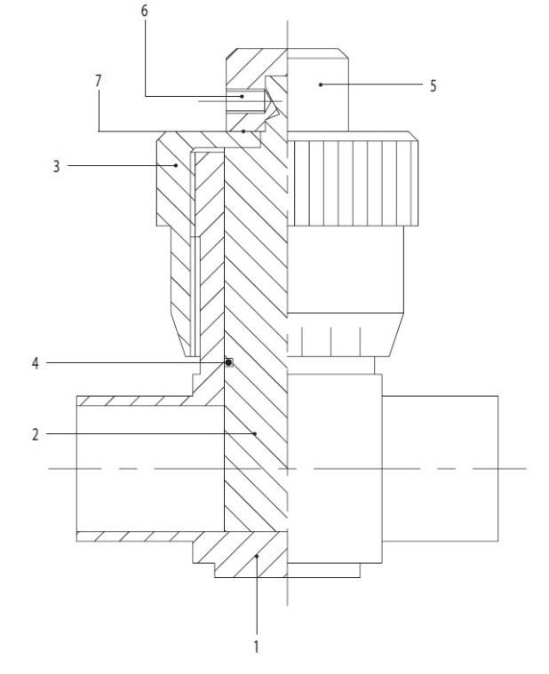
Regulator przepływu

1.Korpus  •  2.Uszczelka głowicy  •  3.Pokrętło regulacji  •  4.O-ring EPDM  •  5.Element blokujący  •  6.Kołek  •  7.Podkładka

Gdzie stosuje się higieniczne regulatory przepływu?

Regulator przepływu umożliwia precyzyjne, ręczne ustawienie wartości przepływu w rurociągu. Po ustawieniu wymaganego poziomu przepływu, pokrętło można zablokować w ustalonej pozycji. Regulatory tego typu z powodzeniem stosuje się we wszystkich gałęziach przemysłu spożywczego, w tym:

  • przemyśle produkcji napojów,
  • przemyśle fermentacyjnym,
  • zakładach przetwórstwa spożywczego,
  • browarnictwie, winiarstwie i gorzelnictwie,
  • mleczarstwie i wielu innych.

 

Innym obszarem, w którym stosuje się ten rodzaj zaworów są zakłady biotechnologiczne, produkcja kosmetyków oraz zakłady farmaceutyczne.

 

Nierdzewne regulatory przepływu z regulacją ręczną doskonale sprawdzą się w miejscach, gdzie istotna jest znacząca odporność na korozję oraz zachowanie wysokich standardów higienicznych.